3月23日最新消息,据多家媒体报道,近日,深圳市大疆创新科技有限公司(以下简称“大疆”)在广东省深圳市中级人民法院正式起诉影石创新(688775),涉及6项专利权属纠纷,多名前大疆核心研发人员被指参与。目前,法院已正式立案。

据介绍,这是大疆首次在国内提起专利权属纠纷,大疆指控影石创新申请的涉案专利主要集中在无人机飞行控制、结构设计、影像处理等关键技术领域。大疆在诉状中指出,涉案专利系前员工离职后一年内作出的发明创造,这些发明与员工在大疆任职时的工作任务密切相关。

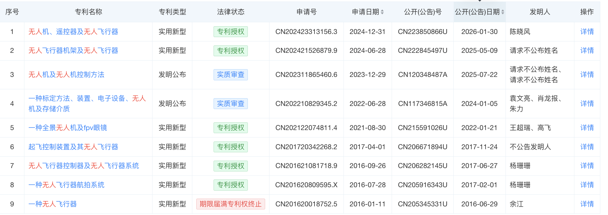
媒体援引知情人士消息称,在涉及无人机飞行控制和结构设计的两件专利中,影石创新在中国的申请文本里将部分发明人记载为“请求不公布姓名”。但在对应的国际专利申请中,却列明了所有发明人的真实姓名,而选择不公布姓名的人员正是大疆前核心研发人员,在职期间深度参与了大疆无人机重点项目的技术开发,掌握了核心技术体系。
来源:新浪科技
投稿/爆料:tougao@youxituoluo.com
稿件/商务合作: 林南(微信 19250561593) 六六(微信 13138755620)
加入行业交流群:林南(微信 19250561593)
元宇宙数字产业服务平台
下载「陀螺科技」APP,获取前沿深度元宇宙讯息