文/VR陀螺
12月圣诞假期前夕,一则有关VITURE和XREAL的专利纠纷,将两家AR头部厂商卷入舆论和法律的中心。源引报道原文:
“德国慕尼黑第一地区法院已作出一审裁决,并当庭批准了一项临时禁令,要求VITURE的香港经销商Eden Future HK Limited立即停止在德国境内提供、投放市场、使用或进口相关侵权产品。”“目前,VITURE Pro已在亚马逊德国、法国、意大利、西班牙等9个欧盟站点下架。”
很快,VITURE创始人兼CEO姜公略就在朋友圈做出回应:
“竞争与攻击从来都不是我们的价值观,也无法成为一家伟大公司的底蕴。VITURE全线产品在欧洲各市场均保持正常上线销售状态,公司年增速依然保持在100%以上。在这样的增长中,一定会招致被超越的友商的战术反扑。我们能做的就是坚定走自己的路,做好自己的事,忽略噪音。行业方兴未艾,当共拓其势,而非相争其利。”
来源:微信朋友圈
根据实际调查,目前在德国受到该判决限制的产品仅涉及VITURE Pro一款,且该产品在德国以外的其他欧洲国家仍有上架,并不存在报道中提及的“欧洲九国禁售”的情况。据悉VITURE方面已对该判决提出异议并提出坚决回应,事件后续影响仍待进一步发酵。
如果把整个事件放回时间线中重新审视就会发现,这场纠纷所反映出的意义,其实远不止一场单纯的商业争端:
图源:VR陀螺
XREAL起诉VITURE侵权的专利直到2025年5月才首次获批,且目前仍处于异议期;而相关产品VITURE Pro早在2024年5月就已经正式上市。
VITURE方面回应称:Birdbath技术本身早已发展成熟,主流方案的核心技术路径均已包含在微软现有的专利体系中;行业中不少类似专利,大多依赖在成熟技术上附加细节限制来申请授权,缺乏真正结构性与原理层面的创新,这类专利即便获批,也往往存在较大的被无效风险。
与已有基础专利相比,本案中的XREAL专利更多是在外观与面型约束方面做出补充,并未触及光学原理层的突破。欧洲专利局此前也对其创新性提出过质疑,其授权更多源于外观特征的差异性;与此同时,其在国内的同族专利已悉数被驳回,也进一步说明该专利在创新价值上的稳定性仍存疑点。
更耐人寻味的是,XREAL选择在德国发起诉讼。德国司法环境以“优先保护已授权专利”及“无效审理周期较长”著称,往往会在一定阶段形成“先执行,后讨论有效性”的实际效果。在业内看来,这更像是一种具有明显策略导向的竞争手段,而并非单纯出于技术保护层面的正常维权。
与此同时,VITURE对“产品在欧洲九国下架”的传言予以强烈反驳,明确表示VITURE全线产品依然正常销售,并且在多个市场仍处于领先位置。
图源:网络
专利透视:“XREAL与VITURE专利纠纷案”背后的疑云
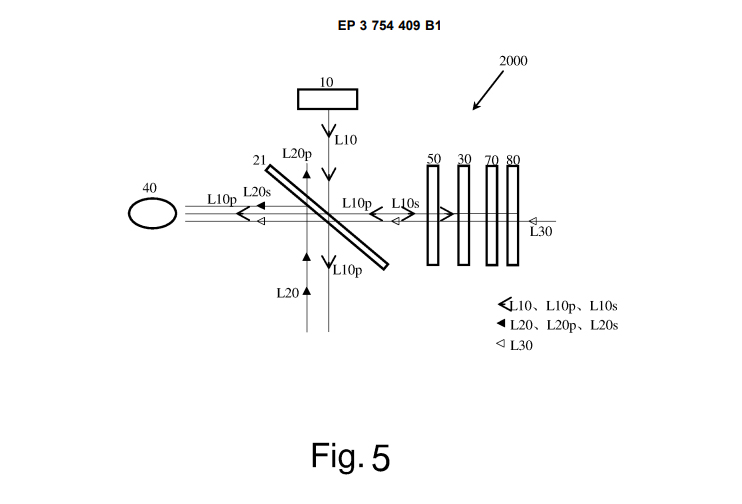
本次纠纷案涉及专利“EP3754409B1”保护核心是基于Birdbath方案的AR设备及其光学系统。
Birdbath模组的基础架构可追溯至1972年公开的技术方案。为解决光效率低下的缺点,行业后续基于光的偏振特性,提出了结合偏振分光膜与1/4波片的Birdbath优化方案。其核心逻辑是利用偏振分光膜对不同偏振态光线的选择性透反射特性,搭配1/4波片的偏振态转换功能,实现光路的高效调控。该架构不仅能将虚拟光效率提升一倍,更关键的是可有效滤除杂散光,解决了多次反射导致的重影与对比度差问题,使Birdbath技术真正具备实用价值。
该方案对应专利于1994年公开,目前已失效,属于行业通用技术。当前主流的Birdbath模组,都是在该方案基础上进行细微优化迭代而来。目前市面上包括XREAL、VITURE、雷鸟、Rokid等品牌的Birdbath方案AR眼镜,均采用这一行业通用的成熟技术,并不构成侵权。
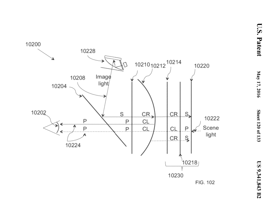
专利号US9341843B2
针对眼镜前方漏光的痛点,行业后续通过在设备前方增设额外的1/4波片与线偏振片,将前方泄漏的圆偏振光转换为线偏振光,再通过线偏振片吸收,从而消除前方漏光,保障佩戴者的观看私密性。该前方消漏光技术最早由ODG公司于2012年提出,对应专利号US9341843B2。由于ODG公司已不复存在,其专利资产被微软收购,因此核心消漏光技术归属微软。值得注意的是,该专利仅在美国、加拿大、德国有效;而在国内,消漏光相关专利则由模组厂商惠牛科技持有。市面上所有具备前方消漏光功能的Birdbath产品,均采用了上述核心技术逻辑。
专利号EP3754409B1
通过对比本次案件涉及的专利EP3754409B1和US9341843B2,专利中的21(偏振分光膜)对应微软专利的10204;50(1/4波片)对应微软专利的10210;30(半反射镜片)对应微软专利的10212,70(消漏用1/4波片)对应微软专利的10218;80(消漏用线偏振片)对应微软专利的10220。
相关光学专家认为:XREAL该专利的核心技术架构与微软专利高度重合,并不具备实质性创新。欧洲专利局针对该专利的审查报告明确指出:该专利相较于已授权专利几乎无创新点;最终授予专利权的核心原因,是新增的面型约束特征在现有引用文献中未被公开,因此具备独特性。——XREAL正是通过添加一项类似外观专利的限定,才使该专利满足授权条件。
该专利的公示日期为2025年5月21日。欧洲专利的异议期是9个月,该专利尚在9个月的专利异议期内,任何第三方都可以提起异议。此外,XREAL在国内申请的4件与德国专利权利要求特征基本一致的同族专利,均已被国家知识产权局驳回。因此,整起所谓“专利侵权案”并不能通过慕尼黑第一地区法院的一审判决及临时禁令做简单的盖棺定论。
至此,XREAL这篇专利的实际价值已经非常清晰:这是一篇对行业来说创新性不足,仅凭无关紧要的外观结构限制提供独特性的蟑螂专利。结合近期整起事件的时间线来看,本次起诉并非单纯的技术保护,而是以打压友商为目的攻击。
商战博弈:德国“双轨制”下的闪电战与VITURE的回应
正如前言所述,为何两家中国AR企业的纠纷会在遥远的德国审理?
这是因为德国作为欧洲专利保护最严格的国家,专利诉讼采用独特的“双轨制”程序架构。侵权诉讼与专利无效诉讼由不同法院审理,且前者程序远快于后者。侵权诉讼由地区法院作为一审机构,最快可在24小时内作出裁决;而专利有效性争议则由联邦专利法院独立审理。侵权诉讼一审周期通常控制在12-18个月,而无效程序平均耗时达30-48个月,即便后续无效程序推翻专利有效性,侵权判决仍将先行生效。
这意味着,即使一项专利的有效性存疑,法院也可能在专利无效程序得出结论前,先行签发产品禁售令。利用这种“程序时差”的双刃剑制裁,无异于恶意竞争。
针对本次诉讼,VITURE官方现已做出回应,核心观点如下:
“1、临时禁令并非最终判决,仅属程序性措施。
涉诉专利在中国已被驳回,在德国同样存在被宣告无效的重大风险。VITURE已就该临时禁令正式提起上诉,目前仍在审理中。我们坚信涉诉产品并未侵犯任何相关专利权益。
2、VITURE Pro早于涉诉专利获批上市。
VITURE Pro在德国的上市日期早于涉诉专利授权日期(2025年5月21日)。该专利目前仍处于异议期内,VITURE认为其缺乏合法有效的授权基础,已正式提出专利异议,目前亦在审理之中。
3、临时禁令效力有限且范围受限。
该临时初步禁令仅在德国生效,且仅涉及VITURE Pro单一产品。除德国外,VITURE Pro仍在其他欧洲国家正常销售。
4、涉诉产品已为旧品且在诉前已售罄。
VITURE Pro属于2024年产品,在诉讼发生前已于德国全面售罄。VITURE依法尊重法院的临时措施,但将坚定上诉,坚决维护自身的合法权益,并将积极回应一切不公平、不实及误导性的指控。
5、对竞争压力表示理解,但坚决拒绝不实攻击。
我们理解XREAL在市场下滑中所面临的挑战,但坚决反对任何针对VITURE的不实指控与误导行为。XR行业仍处早期高速发展阶段,我们对此类做法深感失望。
6、行业应回归创新本质与用户价值。
真正应投入精力的,是推动产业创新、创造更优秀的用户体验,而非诉诸缺乏事实基础的法律行为。”
图源:IDC
笔者还了解到,临时禁令中的VITURE Pro于2024年5月在北美上市,同年8月在国内上市,已经上市一年半,属于电子产品的生命末期。目前,VITURE线上店铺中销售主力已是2025年7月上市的VITURE Luma系列。
而根据IDC近日发布的2025Q3美国AR市场销量排名,VITURE以28.1%的市场份额夺得当季冠军,VITURE Luma系列XR眼镜的热销是取得该成绩的关键。该系列刚刚宣布与知名游戏IP《赛博朋克2077》联动,推出限量10000件的联名款眼镜。此外,VITURE Beast XR眼镜也正在预售中。
因此,对VITURE Pro提出临时禁售的舆论声量意义远大于实际打击。
行业反思:专利“矛”与“盾”的边界之争
XR作为高新科技行业,创新保护无疑是重中之重,专利纠纷也不是什么新鲜的话题。
行业巨头Meta的遭遇是行业的经典缩影。它多次遭到像Perceptix Technologies LLC这类非执业实体(NPE,或称“专利海盗”)的诉讼狙击。NPE公司本身不从事技术创新或产品生产,其核心商业模式就是通过收购专利,向Meta这类财力雄厚、技术路线广泛的大型科技公司发起侵权诉讼,以寻求高额赔偿或和解金。
Meta的例子说明,在全球XR市场,即便是技术巨头,也深陷于复杂的“专利地雷阵”之中。专利诉讼不仅是技术较量的延伸,更已经成为一种商业策略和成本博弈。
今年,Perceptix Technologies又指控Meta Orion和Ray-Ban Display眼镜侵犯了基于肌肉信号的交互技术专利。(图源:网络)
行业应回归产品和技术本质,而不是在自身面临挑战时通过散播谣言或将“火力”对准同行来转移矛盾;真正有价值的竞争,应该是为用户创造更好的体验与更成熟的生态。这种以攻击同行为手段的行业氛围,理应被及时叫停,只有建立起更加理性、公平、良性的竞争环境,XR 行业才能真正向前发展。
投稿/爆料:tougao@youxituoluo.com
稿件/商务合作: 林南(微信 19250561593) 六六(微信 13138755620)
加入行业交流群:林南(微信 19250561593)
版权申明:本文为VR陀螺原创,任何第三方未经授权不得转载。如需转载请联系微信:vrtuoluo233 申请授权,并在转载时保留转载来源、作者以及原文链接信息,不得擅自更改内容,违规转载法律必究。文中有图片、视频素材来自互联网或无法核实出处,如涉及版权问题,请联系本网站协商处理。
元宇宙数字产业服务平台
下载「陀螺科技」APP,获取前沿深度元宇宙讯息